我的世界(Boat_H2O)行尸走肉服务器如何下载?我的世界(Boat_H2O)行尸走肉服务器是一款我的世界(Boat_H2O)制作的便捷辅助小工具,在我的世界(Boat_H2O)行尸走肉服务器手机版app中,包含全新的丧尸恐怖元素,玩家可以根据自己的需求进行加入修改,全新体验,快下载我的世界(Boat_H2O)行尸走肉服务器试试吧!
我的世界(Boat_H2O)行尸走肉服务器攻略:
每个行尸走肉服务器都会有地图,地图上有彩色物资右键即可拾取
而且周围随时都会出现玩家或者是僵尸将你杀死.
所以见到玩家和僵尸就得将他打死
打死玩家会掉落尸体 对着尸体右键可以拿到他身上的物品
背包界面


游戏里有两种状态,一种是饥饿度,还有一种是水分 他们会随着玩家的操作而慢慢减少

补充饥饿度,水分的方法:
在地图上找到食物和水
下面是水和食物的样子


食物和水都是右键即可使用的
有些萌新问为什么有的东西不能吃,类似于:

这些是没有开过罐的,我们需要找到开罐头器才可以正常食用
开罐头器的样子:

开罐方法

还有一种补充水分的方法就是

第一个种第二种是水瓶,可以右键河里的水反复的使用,第三种是咖啡包,用来合成第一个水瓶,增加两点水分,只能用一次。
在服务器里有些地方还可以捡到衣服和护甲背包些东西都是可以在背包里面使用的
头盔

衣服

防弹衣

背包

====================================================
在游戏里受到玩家的攻击伤害或者摔的腿断了 尸毒 流血等治疗方法

治疗断腿,在高处掉下时使用,按住右键

治疗尸毒,症状:浑身冒绿泡。

左边灰色空血包,右键别人抽血,一次回4格血


绷带与纱布,治疗出血,症状是浑身冒红泡

这种绷带对着水右键就好了。

夹板,同样是治疗骨折。
在军营 飞机场等地方可以捡到武器还有子弹还有武器配件 武器喷漆 近身武器 投射武器
武器

子弹

武器找到相应子弹的方法就是根据子弹名字有没有武器的名字进行判断
武器配件和喷漆 在背包可以给武器使用


这是一把*****
投射武器

还有一些具有伤害性的建筑物和有用处的建筑物
水井,用水壶对着他右键水就满了

地刺,站在它上面就会减速并且受到伤害

特殊武器 工具和战利品
特殊武器C4 把CD对着地右键然后用C4点燃器右键引爆

特殊武器喷火器

把燃料背包放在身上再把燃料放在背包

右键喷火器即可使用
特殊武器手铐 用手铐右键玩家 玩家只能通过右键200次或者被其他玩家使用钥匙打开

特殊工具,物品改名条,使用方法:右键输入好想要的物品名 然后打开背包的合成界面把他和你想要修改名字的物品放在一起就合成完成了。

战利品,杀死僵尸随机掉 右键使用随机获得物品

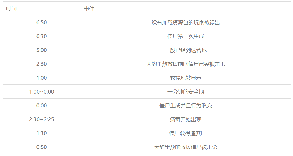
时刻表
在行尸走肉中,知道在什么时间会发生什么事件是很有用的。我制作了一张游戏中主要事件发生的确切时间的时刻表。
水平红线(---)=连续的僵尸生成
竖直红线(|) =每次僵尸生成当中的15秒间隔
竖直绿线(|)=每次僵尸不生成当中的15秒间隔


注意游戏被分成两个阶段:7分钟的救援前阶段以及3分钟的救援阶段。在前7分钟,你应该注意尽可能多的掠夺箱子并且同时得到大量的击杀。
在救援阶段,你一般应该只关注击杀。
地图解析
记住,开始游戏时你总是面朝南方。你在中央公园的位置变化取决于你加入游戏的先后。例如,如果你是第一个加入行尸走肉等待大厅的人,你将出生在墓地旁。
救援地点用红色来显示。其他有用的地点用白色来显示。箱子地点用亮的小蓝点来显示。
警局须知
警察局的内部工作,如果你想得到高分就要多了解警局。
在警局行动容易获得更高的分数。但这说明在救援到来前,你需要在警局的其中一个房间中坚守并击杀所有入侵的僵尸。
警局中也有充足的箱子,加上附近的箱子共有10个左右。一般在掠夺开始之前要守好这些箱子需要一些手枪子弹。
通常我们先抢警局办公室的第一个箱子,然后是有着棕色桌子房间的箱子(棕色房间),接下里是有着铁门房间的箱子(寄物柜房间),后来是车库的箱子,随后是两个红色房间的箱子,接着是楼上的两个箱子。
监狱箱子一般直接跳过,因为它相对和楼梯较远,并且如果僵尸大量生成很容易被困在里面。然而,其它的箱子可能也会跳过如果僵尸太多或者太迟。
学会单通警局需要多加练习。
技巧及注意事项
1、在僵尸生成的15秒中打开箱子要谨慎。例如你在3:15打开了箱子,僵尸都会生成在你身边而不是在一个有理的远处。如果你在游戏较为后期时这么做会加快死亡。我个人认为最好在15秒间隔中不要打开箱子。
2、随着游戏的发展,僵尸的生成只会增加,所以不要以为待在一个地点就可以一劳永逸了。
3、用你的小刀来击杀靠近你的僵尸。如果你的小刀用完了,M16通常是个好的选择。
4、努力去掠夺箱子。玩游戏的玩家越多,快速掠夺并冒险的优势就越大。你要做的只是尽可能快的掠夺所有的箱子并到达你的防守地点。
5、你可以计划在指定的时间内到达某个目标位置。这将会使得你行动的更快和做出更好的选择。例如,你可以计划在第一波僵尸生成之前掠夺底楼的3个箱子。
6、高速连点M16可以加快行动速度。
7、高速连点手枪而不要按住不放。这样它的开火速度会更快,节省M16的子弹。
8、霰弹枪一般是最后的选择,因为它比较不稳定。
9、可以用霰弹枪击杀看不见的僵尸。如果没打死的话就赶紧跑等他们出现。
10、在进入警察局之前,要把快捷键上的弹药放到背包里,换上血包。这样可以节省时间,甚至可能救命。
我的世界(Boat_H2O)行尸走肉服务器怎么进
打开游戏启动器 输入ID就不说了,都懂 在游戏设置里把 最大内存/mb 设置成512

打开游戏后出现游戏界面

然后选择服务器,再进入服务器注册就OK了
【注意!第一次注册后会困在一个小黑屋里面需要输入/suicide】
我的世界行尸走肉服务器(Boat_H2O)怎么建房子
更新时间:2024/4/29
1、首先我们需要一个蓝图的地基

2、然后把这个地基放在一个可以放置的地方

3、然后我们的房子就完成了,完成之后我们添加和删除成员

4、这个主要是确定玩家是否有开箱子和开门的权限。
怎么下载
更新时间:2024/4/29
1、首先打开浏览器,搜索我的世界行尸走肉。
2、其次找到我的世界行尸走肉相关内容,点击进去到下载的页面,点击下载。
3、最后等待下载完成后,打开我的世界行尸走肉这款游戏压缩包,进行安装即可。
这款游戏早已超越娱乐产品范畴,进化为跨越代际的文化现象与教育工具。在多人服务器中,玩家们协同复原巴黎圣母院、构建《权力的游戏》维斯特洛大陆,甚至开发出内含职业体系与经济制度的城邦社会;教育版则被全球学校用于教授编程逻辑、几何原理与可持续发展理念。而持续十余年的更新如同一部活态进化史:深海神殿的幽蓝咒语、循声守卫的震荡波攻击、考古系统的历史残片,不断为这个方块世界注入新的叙事层。当玩家在暮色中点亮第一支火把,他们守护的不仅是虚拟角色的生命值,更是人类与生俱来的探索欲、协作精神与创造本能最纯粹的投影。
虫虫助手4.2.7
辅助工具 2026/3/30 17:46:22 下载
游戏王决斗链接脚本
辅助工具 2026/3/30 17:44:54 下载
泰拉瑞亚修改器1.4悬浮窗免费版
辅助工具 2026/3/30 17:24:21 下载
奥维互动地图卫高清(Ovitalmap)
辅助工具 2026/3/30 16:59:12 下载
墨鱼游戏助手
辅助工具 2026/3/30 16:41:27 下载
x浏览器
辅助工具 2026/3/30 16:24:38 下载
信长之野望15大志修改器
辅助工具 2026/3/30 16:22:56 下载
小苹果活动助手官网手机版
辅助工具 2026/3/30 16:06:09 下载
校长120帧画质助手ios
辅助工具 2026/3/30 15:45:30 下载
7游盒子
辅助工具 2026/3/30 15:44:42 下载